The XCU-300 Crystal Calibrator provides a means of checking the accuracy of the frequency calibration of the NC-300 and NC-303 receivers. The front-panel mounted OFF-CAL-WWV switch connects B-plus to the calibrator for instantaneous service. To check calibration accuracy tune in the desired marker signal with the MODE switch set at CW and the CWO knob set at 12 o'clock. Zero beat the receiver with the harmonic marker. If the slide-rule dial does not read accurately correction should be made by adjusting the front-panel mounted CAL-SET control. Only a slight adjustment of the CAL-SET control should be necessary.
The XCU-300 Crystal Calibrator is installed in your NC-300 or NC-303 receiver by plugging the unit into the Crystal Calibrator Socket, X1, on top of the chassis.
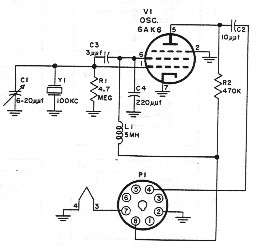
Scematic for the XCU-300 calibrator
C1 | Ceramic, variable 6-20 mmf |
C2 | Ceramic, 10 mmf, 500 vdcw |
C3 | Ceramic, 3 mmf, 500 vdcw |
C4 | Ceramic, 220 mmf, 500 vdcw |
L1 | 5 mh, type R-100 |
P1 | Octal |
R1 | Fixed, 4.7 megaohms, 1/2 watt |
R2 | Fixed, 470,000 ohms, 1 watt |
Y1 | Quartz crystal, 100 kc |
Back to the Miscellaneous National Product Line